简介:
1.更新下载类目的采集 及 导入
网站程序:jizhiCMS + 高仿新版某刀资源网模板
采集程序:
蓝天采集 + 已对接好资源站规则
网站图片及蓝天采集规则
安装教程在下面⬇⬇⬇⬇⬇⬇⬇
图片:

安装步骤:
一:下载网站源码程序
安装方法:
1、将根目录文件上传服务器
2、将根目录sql.gz导入mysql数据库
3、环境需要支持PHP5.6+(推荐PHP7.2),mysql5.0+
4、配置数据库Conf/config.php 填写数据库账户密码
5、删除根目录安装文件install
6、访问后台:http://域名/admin.php
账户密码都是:admin
7、Nginx服务器需要配置伪静态,宝塔则选择thinkphp,其他Linux服务器配置伪静态:
location / {
if (!-e $request_filename){
rewrite ^(.*)[ Discuz_CODE_1 ]nbsp; /index.php?s=$1 last; break;
}
}(Apache和IIS不需要手动配置,系统自带)
8、进入后台,扩展管理 - 插件列表 - 找到“Skycaiji采集API接口”,安装并启动,生成API(对接蓝天采集用的,不下载文章发不出去)
安装蓝天采集教程:
1、下载蓝天采集程序(在压缩包里)
2、在你网站程序根目录创建文件夹 命名为:lantiancaiji
3、把蓝天采集源码上传到刚刚创建的lantiancaiji文件夹里面
4、安装路径:http(https)://域名.com(其他)/lantiancaiji
5、进入后台 - 任务 - 任务列表 - 创建任务 - 任务名称(随便起) - 采集模块(看图)

以此类推全部上传完!
采集步骤:
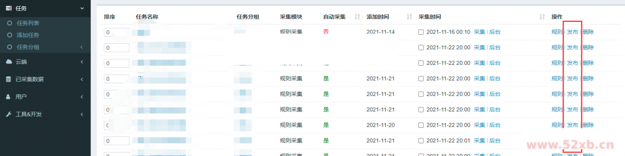
1、如何发布文章
1.1 返回任务列表,找到“发布”
1.2 进入发布,选择“调用接口”
解析:tid = 栏目ID、title = 文章标题、body = 文章内容、downurl = 下载地址

这样的规格把所有的任务全部设置完成。

登录后才能发表评论